KS 凱盛塑膠
  • 返回首页
  • 网站地图
  • 联系我们
    首 页 產品中心 走進凱盛 服务和支持 诚聘英才 联系我们 客户留言
1 絕緣配線槽系列 2 配線標誌系列 3 尼龍紮線帶系列 4 結束帶系列 5 固定座系列 6 浪管 固定頭系列 7 保護部品系列 8 接線頭系列 9 套管系列 10 固定夾系列 11 PC板部品系列 12 扣具系列 13 端子及工具 15 橡膠製品
公司简介 组织结构 资质和荣誉 企业文化
服务细则 服务内容

產品中心

1 絕緣配線槽系列
2 配線標誌系列
3 尼龍紮線帶系列
4 結束帶系列
5 固定座系列
  • 配線固定鈕
  • 可調式配線固定鈕
  • 配線固定鈕
  • 黏式配線固定座
  • 紥線固定座
  • 壁虎型固定座
  • 更多..
6 浪管 固定頭系列
7 保護部品系列
8 接線頭系列
9 套管系列
10 固定夾系列
11 PC板部品系列
12 扣具系列
13 端子及工具
15 橡膠製品

 

  • 首页
  • 產品中心
  • 5 固定座系列

5 固定座系列


点击放大
产品名称: 配線固定鈕
产品型号: UC-0、UC-0.5、UC-1、UC-1.5、UC-2、UC-3、UC-4…
产品简介:
详细说明

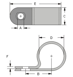
K501 配線固定鈕
Cable Clamp


材質: UL合格之NYLON 66(本色),防火等級 94V-2。
用法: 將電纜套入鈕環中(如附圖),再以螺絲固定。
用途: 電機、電子、冷氣配線之固定用。

單位:mm
  型 號
Item No.
螺絲孔
A
B C 束線徑
D
E F 包 裝
Packing
  UC-0 4.8 8.0 9.60 3.1 (1/8") 1分 17.0 1.2 100 pcs / 包
  UC-0.5 4.8 9.2 9.60 5.0 (3/16") 分半 18.6 1.2
  UC-1 4.6 10.0 10.00 6.4 (1/4") 2分 20.0 1.4
  UC-1.5S 4.8 11.2 10.00 7.2 (9/32") 1分 22.6 1.5
  UC-1.5 4.6 12.0 10.00 7.9 (5/16") 2分半 22.0 1.5
  UC-2 4.6 12.5 12.00 9.5 (3/8") 3分 24.0 1.5
  UC-3 5.0 15.2 12.00 12.7 (1/2") 4分 31.0 1.5
  UC-4 4.6 18.2 12.00 15.8 (5/8") 5分 34.3 1.5
  UC-5 4.6 18.2 11.78 19.4 (3/4") 6分 35.0 1.5
  UC-6 4.6 22.0 12.00 25.4 (1") 1吋 43.0 1.8
  UC-6.5 4.6 24.0 12.00 27.5 (1 1/16") 50.0 1.8
  UC-7 4.6 26.2 12.00 31.8 (1 1/4") 1吋2分 46.2 1.8
  UC-9 4.6 30.0 12.00 36.7 (1 1/2") 1吋4分 50.0 1.8

 東莞凱盛塑膠配線器材

最新评论

更多

快速评论

标题:         姓名:
内容:
 

网站地图|联系我们|客户留言|诚聘英才|管理后台|
Copyright 2011 © 東莞市凱盛配線器材有限公司 粵ICP备200608091789号
絕緣配線槽、配線標誌、尼龍紮線帶、結束帶、配線固定座、配線固定夾、配線固定鈕、電線固定片、電線固定頭、浪管固定頭、浪管、電源線扣、扣式護線套、扣式塞頭、護線環、接線頭、套管、PC板隔離柱、尼龍鉚釘、LED座、塑膠螺絲、端子、PC板焊接端子、腳墊、護蓋、密封圈(O型圈)、電子塑膠產品等。